
日前,营口银行股份有限公司(简称“营口银行”)一笔出资额为8226.96万元的股权被山东省莱西市人民法院冻结。据不完全统计,截至目前,营口银行至少出资额为13.11亿元的股权遭司法冻结,涉及该行11家股东。
而营口银行的全部股东中,目前已有10家成为被执行人,8家沦为失信被执行人,该行第一大股东和第二大股东均被法院立案执行。尤其是该行第二大股东已7次成为失信被执行人,85次被法院限制高消费,现存48件终本案件,未履行比例高达98.59%。
记者了解到,自2020年以来,营口银行已连续五年未公布年报,该行财务数据成谜。据司法拍卖委托出具的资产评估报告披露,营口银行2022年和2023年连续两年出现净亏损,合计亏损金额超过15亿元。截至2023年12月31日,该行每股评估价为1.15元,仅相当于同期每股净资产的28.4%。
20多笔股权被冻结

据国家企业信用信息公示系统提供的信息显示,2026年1月13日,营口银行出资额为8226.96万元(下同,股权价值均指出资额)的股权被山东省莱西市人民法院冻结,冻结期限至2029年1月12日。该笔股权的持有人为辽宁欣立耐火材料科技集团有限公司(简称“欣立科技”),执行裁定书文号为(2025)鲁0285执4474号。

2025年9月份,辽宁金鼎镁矿集团有限公司(简称“金鼎镁矿”)持有的营口银行2.66亿元股权被司法冻结,冻结期限至2028年9月25日,该笔股权已被多家法院轮番冻结。此外,该公司持有的营口银行3000万元股权2022年6月被冻结,冻结期限至2028年5月15日。该公司持有的营口银行1977.59万元股权2021年7月被冻结,冻结期限至2027年6月12日。该公司持有的营口银行1500万元股权2024年1月被冻结,冻结期限至2027年1月15日。该公司持有的营口银行6437.25万元股权2020年9月被冻结,冻结期限至2026年8月30日。

2025年9月份,上海逸合投资管理有限公司(简称“逸合投资”)持有的营口银行4959.82万元股权被司法冻结,冻结期限至2028年9月21日,该笔股权已多次被冻结。此外,该公司持有的营口银行9919.63万元股权2019年12月被冻结,冻结期限至2028年10月26日。

2025年5月份,辽宁省法库县人民法院将营口银行62.86万元股权冻结,冻结期限至2028年5月6日,该笔股权的持有人为沈阳五洲震耀陶瓷有限公司(简称“五洲陶瓷”,现名沈阳五洲陶瓷科技发展有限公司)。此外,该公司持有的营口银行899.01万元股权2025年3月份被冻结,冻结期限至2027年3月5日。
2025年3月份,辽宁银珠化纺集团有限公司(简称“银珠化纺”)持有的营口银行2376.38万元股权被冻结,冻结期限至2028年3月23日,该笔股权已多次被法院冻结。此外,该公司持有的营口银行1808.10万元股权2024年4月被冻结,冻结期限至2027年4月24日。该公司持有的营口银行400万元股权2023年10月被冻结,冻结期限至2026年10月17日。

2025年3月份,上海金融法院将营口银行3.91亿元股权冻结,冻结期限至2028年3月2日。该笔股权的持有人为上海国之杰投资发展有限公司。
2024年5月份,营口亚田制衣有限公司持有的营口银行360万元股权被法院冻结,冻结期限至2027年5月26日。这是该公司持有的营口银行全部股权。

2023年6月份,上海金融法院将营口银行1.14亿元股权冻结,冻结期限至2026年6月28日。该笔股权已四次被法院冻结,被执行人为安信信托股份有限公司。
2023年1月份,大连市甘井子区人民法院将营口银行341.57万元股权冻结,冻结期限至2028年1月1日。该笔股权已多次被冻结,其持有人为大连欣嘉利实业发展有限公司(简称“大连欣嘉利”)。
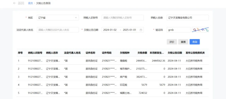
2022年2月份,辽宁天宝煤业有限公司(简称“天宝煤业”)持有的营口银行1800万元股权被司法冻结,冻结期限至2027年1月17日。该笔股权为天宝煤业持有的营口银行全部股权,已多次被冻结。

2019年10月份,上海金融法院将营口银行3.50亿元股权冻结,冻结期限至2028年8月17日。该笔股权的持有人为辽宁群益集团耐火材料有限公司(简称“群益集团”)。
8家股东失信被执行

公开资料显示,营口银行第一大股东群益集团目前已被打上“股权冻结”、“被执行人”、“限制高消费”的标签。据中国执行信息公开网显示,群益集团现存4条被执行人信息,被执行总金额7386.88万元。该公司及其法定代表人27次被法院限制高消费,涉案总金额1.488亿元。该公司现存19件终本案件,执行标的总金额7285.79万元,未履行总金额7076.22万元,未履行比例97.12%。

除第一大股东成被执行人外,营口银行还有8家股东已沦为失信被执行人。该行第二大股东金鼎镁矿7次成为失信被执行人,涉案总金额5242.04万元。该公司及其法定代表人85次被法院限制高消费,涉案总金额31.98亿元。该公司现存48件终本案件,执行标的总金额45.23亿元,未履行总金额44.59亿元,未履行比例98.59%。

营口银行另一家股东欣立科技2024年4月被登封市人民法院列入失信被执行人,涉案总金额仅91.50万元。该公司涉及一起买卖合同纠纷案件,生效法律文书确定的义务为“被告应支付原告货款91.50万元”,履行情况为“全部未履行”,失信被执行人行为具体情形为“违反财产报告制度”。
营口银行另一家股东逸合投资现存5条失信被执行人信息,涉案总金额5.67亿元。该公司及其法定代表人33次被法院限制高消费,涉案总金额25.10亿元。该公司现存6件终本案件,执行标的总金额23.68亿元,未履行总金额22.89亿元,未履行比例96.68%。
此外,营口银行股东银珠化纺现存6条失信被执行人信息,涉案总金额2.26亿元。该公司及其法定代表人39次被法院限制高消费,涉案总金额13.42亿元。该公司现存23件终本案件,执行标的总金额4.99亿元,未履行总金额4.98亿元,未履行比例99.99%。


值得注意的是,天宝煤业目前已出现“经营异常”,被国家税务总局大石桥市税务局列入税务非正常户,2024年4月被通报存在5条欠税记录。该公司现存7条失信被执行人信息,涉案总金额8244.13万元。该公司及其法定代表人26次被法院限制高消费,涉案总金额1.82亿元。该公司现存17件终本案件,执行标的总金额1.05亿元,未履行总金额0.99亿元,未履行比例94.43%。

营口银行另一家股东营口玻璃纤维有限公司2019年11月被营口市站前区人民法院列入失信被执行人,涉案总金额仅2.53万元。该公司涉及一起买卖合同纠纷案件,生效法律文书确定的义务为“支付25261元”,履行情况为“全部未履行”,失信被执行人行为具体情形为“有履行能力而拒不履行生效法律文书确定义务”。
此外,五洲陶瓷现存3条失信被执行人信息,涉案总金额156.18万元。该公司及其法定代表人16次被法院限制高消费,涉案总金额2998.30万元。该公司现存12件终本案件,执行标的总金额2930.20万元,未履行总金额2930.20万元,未履行比例100%。

营口银行另一家股东大连欣嘉利2017年11月份被大连市沙河口区人民法院列入失信被执行人,涉案总金额500万元。该公司涉及一起借款合同纠纷案件,生效法律文书确定的义务为“被告偿还原告借款500万元及利息”,履行情况为“全部未履行”,失信被执行人行为具体情形为“有履行能力而拒不履行生效法律文书确定义务”。
拒不配合法拍资产评估
据官网介绍,营口银行成立于1997年4月,总部设于辽宁营口。目前,该行服务网络覆盖营口、沈阳、大连、哈尔滨、葫芦岛、鞍山、丹东、盘锦、本溪、辽阳、阜新、锦州等12个东北地区主要城市,分行数量13家,各级机构总数114家,员工总数近2300人。

记者注意到,营口银行官网公布的最新一期财务报告为2020年半年度报告。自2020年以来,该行已连续五年未公布年度报告。2025年12月,联合资信评估股份有限公司(简称“联合资信”)发布公告称,“截至本公告出具日,营口银行仍未公开披露年度报告或提供跟踪评级所需的资料,联合资信在评级所需信息不充分的情况下,无法对营口银行主体及相关债项的信用状况做出准确判断。”
据联合资信上述公告透露,“鉴于营口银行未披露2020~2024年年度报告,根据该行反馈,该行仍处于巩固深化辽宁城商行改革成果过程中,故延缓信息披露。营口银行将在完成改革化险相关工作后,适时按照信息披露要求公开披露年度报告。”
此前,2025年7月,大公国际资信评估有限公司(简称“大公国际”)发布公告称,“截至本公告出具日,营口银行尚未披露2024年年度报告,大公国际无法按期开展相关定期跟踪评级工作,因此大公国际延迟披露该行主体与相关债项2025年度跟踪评级报告。”
“上述事项对营口银行经营活动及其信用等级的影响存在不确定性。”大公国际称,“根据营口银行2025年4月23日出具的《关于跟踪评级工作的复函》,按照辽宁城商行改革部署,该行正在推进改革相关工作,相关内部程序暂未履行完成,故延缓信息披露。”

据上海申威资产评估有限公司(简称“申威评估公司”)出具的资产评估报告披露,2021年~2023年,营口银行分别实现营业收入87.19亿元、79.77亿元、76.45亿元,分别实现净利润5.39亿元、-6.33亿元、-9.29亿元。该行2022年和2023年连续两年出现净亏损,合计亏损金额高达15.62亿元。
“本公司2024年2月收到《上海市高级人民法院随机选定资产评估机构结果告知书》,与承办法官取得联系后,从承办法官处获取营口银行对接人的联系方式。经与营口银行对接人多次联系,营口银行不能配合提供任何资料。”申威评估公司称,“本公司与承办法官沟通后,由上海市第二中级人民法院向营口税务局调取营口银行近三年的会计报表等财务资料。由于营口银行拒绝配合,该行各项资产、负债等相关资料无法搜集,故未获得申报的无形资产情况。”

上述评估报告披露,截至2023年12月末,营口银行的总资产为1770.96亿元,净资产为110.84亿元,每股净资产为4.05元。经评估,群益集团持有的营口银行4.344亿股股份的评估值为4.996亿元(评估基准日为2023年12月31日);每股评估值为1.15元,仅相当于该行同期每股净资产的28.4%。
“由于营口银行拒绝配合,该行是否存在表外资产未能核实。”上述评估报告称,“由于营口银行拒绝配合,故该行各项资产、负债等相关资料无法搜集,也无法开展清查工作。”
记者:张嘉怡
财经研究员:于文
股王配资提示:文章来自网络,不代表本站观点。